1 概述
2 儀器的主要技術性能
3 儀器結構
4 操作步驟
5 儀器的維護
6 緩沖溶液的配制方法
7 電極使用維護的注意事項
8 污染物質和清洗劑參考表
9 成套性
附錄1:緩沖溶液的pH值與溫度關系對照表
附錄2:儀器顯示信息對照表
1 概 述
PHS—3C型pH計是一臺常用的實驗室精密pH計, 是原PHS-3C的改型產品,新PHS-3C采用全新設計的外形、大屏幕LCD段碼式液晶,顯示清晰、美觀。儀器增加了自動標準緩沖溶液識別功能,具有識別4.00pH、6.86pH、9.18pH等三種標準緩沖溶液的能力,方便用戶使用;儀器增加了一些必要的保護功能和提示功能,更方便用戶操作和使用儀器。
該儀器適用于大專院校、研究院所、工礦企業的化驗室取樣測定水溶液的pH值和電位(mV)值、此外,還可配上離子選擇性電極,測出該電極的電極電位。
2 儀器的主要技術性能
1.儀器級別:0.01級
2.測量范圍: pH:(0~14.00) pH
mV:(0~±1999)mV(自動極性顯示)
3.**小顯示單位:0.01 pH,l mV
4.具有4.00pH、6.86pH、9.18pH三種標液自動識別功能;
5.溫度補償范圍:(0~60)℃
6.電子單元基本誤差: pH:±0.01 pH mV:±1 mV±l個字
7.儀器的基本誤差:±0.02 pH±1個字
8.電子單元輸入電流:不大于1×10
-12A
9.電子單元輸入阻抗:不小于 l×10
12Ω
10.溫度補償器誤差:±0.01 pH
11.電子單元重復性誤差: pH:0.01 pH mV:l mV
12.儀器重復性誤差:不大于0.01 pH
13.電子單元穩定性:0.01 pH±l 個字/3h
14.外形尺寸 1×b×h, mm:290×210×95
15.重 量:1.5kg
16.正常使用條件
~1~
a) 環境溫度:(5~40)℃;
b) 相對濕度:不大于85%;
c) 供電電源:AC (220±22)V,(50±l )Hz;
d) 除地球磁場外無其他磁場干擾。

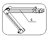
3 儀器結構
儀器外型結構
l ── 機箱
2 ── 鍵盤
3 ──顯示屏
4 ──多功能電極架
5 ── 電極
儀器后面板
6 ── 測量電極插座
7 ── 參比電極接口
8 ── 保險絲
9 ── 電源開關
10 ── 電源插座
儀器鍵盤說明:
a) “pH/mV”鍵,此鍵為雙功能鍵,在測量狀態下,按一次進入“pH”測量狀態,再按一次進入“mV”測量狀態;在設置溫度、定位以及設置斜率時為取消鍵,按此鍵退出功能模塊,返回測量狀態。
b) “定位”鍵,此鍵為定位選擇鍵,按此鍵上部“△ ”為調節定位數值上升;按此鍵下部“▽”為調節定位數值下降;
c) “斜率”鍵,此鍵為斜率選擇鍵,按此鍵上部“△ ”為調節斜率數值上升;按此鍵下部“▽”為調節斜率數值下降;
d) “溫度”鍵,此鍵為溫度選擇鍵,按此鍵上部“△ ”為調節溫度數值上升;按此鍵下部“▽”為調節溫度數值下降;
e) “確認”鍵,此鍵為確認鍵,按此鍵為確認上一步操作。
~2~
儀器附件

11──Q9短路插 12── E-201-C型PH復合電極 13 ──電極保護套
4 操作步驟
4.1 開機前的準備
a) 將多功能電極架(4)插入多功能電極架插座中,并擰好。
b) 將pH復合電極(12)安裝在電極架(4)上。
c)

將pH復合電極下端的電極保護套(13)拔下,并且拉下電極上端的橡皮套使其露出上端小孔。#p#分頁標題#e#
d) 用蒸餾水清洗電極。
~3~
4.2 儀器操作流程

連接電源線,并打開儀器開關,儀器shou先顯示“PHS-3C”字樣,顯示如圖:
儀器開機時型號顯示示意圖
稍等,會顯示上次標定后的斜率以及E0值,

儀器顯示電極斜率示意圖 儀器顯示電極E0示意圖
然后進入測量狀態,顯示當前的電位值或者pH值,如圖:

儀器顯示當前電位值示意圖 儀器顯示當前pH值示意圖
其中顯示屏上方為當前的電位值或者pH值,下方為設定的溫度值。
~4~
在測量狀態下,按“mV/pH”鍵可以切換顯示電位以及pH值;按“溫度”鍵設置當前的溫度值;按“定位”或“斜率”鍵標定電極斜率,簡要的操作流程見下圖:

儀器操作流程示意圖
~5~
4.3 設置溫度
如果用戶需要設置溫度,
用溫度計測出被測溶液的溫度,
然后按“溫度△”或“溫度▽”
鍵,儀器顯示如圖:
按“溫度△”或“溫度▽”
鍵調節顯示值,使溫度顯示為被
測溶液的溫度,按“確認”鍵,
即完成當前溫度的設置,按“pH/mV”鍵放棄設置,返回測量狀態。
4.3 標定
儀器使用前shou先要標定。一般情況下儀器在連續使用時, 每天要標定一次。
本儀器具有自動識別標準緩沖溶液的能力,可以識別4.00pH、6.86pH、 9.18pH三種標液,因此對于標準緩沖溶液4.00pH、6.86pH、9.18pH,用戶按“定位”鍵或者“斜率”鍵后不必再調節數據,直接按“確認”鍵即可完成標定。
用“定位”進行一點標定,用“斜率”進行二點標定。
對于其他的非常規標準緩沖溶液,儀器也允許用戶標定使用。如果用戶需要標定,則只須在標定狀態下調節顯示的pH數據**該溫度下標準溶液的pH值,然后按“確認”鍵即可。
~6~
4.3.1 一點標定
一點標定即一點定位法,使用一種標準緩沖溶液定位E0,斜率設為默認的100.0%,這種方法比較簡單,用于要求不太精確的情況下的測量。
注意:進行一點標定即定位操作后,儀器會自動刪除上一次的標定數據,一點標定后,斜率默認設置為100.0%。
a) 在儀器的測量狀態下,把用蒸餾水清洗過的電極插入某種標準緩沖溶液中(如pH=6.86pH的標準緩沖溶液中);
b) 用溫度計測出被測溶液的溫度值,按前面設置溫度的方法設置溫度值;
c) 稍后,待讀數穩定,按“定位”鍵,儀器會提示用戶是否進行標定,顯示“Std YES”字樣,如圖,如果用戶需要標定,則按“確認”鍵,儀器自動進入一點標定狀態,否則按任意鍵退出標定,儀器返回測量狀態。

儀器提示是否標定顯示示意圖 一點標定(定位)狀態顯示示意圖
進入標定狀態后,儀器會自動識別當前標液并顯示當前溫度下的標準pH值,顯示如圖(此時顯示的數據可能與測量狀態下的pH值不同),按“確認”
~7~
鍵,儀器存貯當前的標定結果,并顯示斜率和E0值,返回測量狀態;如果用戶想放棄標定,可按“pH/mV”鍵,儀器退出標定狀態,返回當前測量狀態。
d) 如果用戶使用的是其他非常規標準緩沖溶液,則shou先需要按“定位△”或“定位▽”鍵調節顯示值,使pH顯示為該溫度下標準溶液的pH值,然后按“確認”鍵,完成標定。
4.3.2 二點標定#p#分頁標題#e#
通常情況下我們使用二點標定法標定電極斜率。
a) 準備二種標準緩沖溶液,如4.00pH、9.18pH等;
b) 按照前面的敘述進行一點標定:即在儀器的測量狀態下,把用蒸餾水清洗過的電極插入標準緩沖溶液1中(如pH=4.00pH的標準緩沖溶液中); 用溫度計測出溶液的溫度值(如25.0℃),按照前面設置溫度的方法設置溫度值;稍后,待讀數穩定,按“定位”鍵,再按“確認”鍵進入一點標定狀態,儀器識別當前標液并顯示當前溫度下的標準pH值4.00pH;然后按“確認”鍵完成標定!儀器返回測量狀態。
c) 同理,再次清洗電極并插入標準緩沖溶液2中(pH=9.18pH的標準緩沖溶液中);用溫度計測出溶液的溫度值(如25.2℃),并設置溫度值;稍后,待讀數穩定后,按“斜率”鍵,再確認,儀器自動識別當前標液并顯示當前溫度下的標準pH值(如9.18pH),顯示如圖:

儀器提示是否標定顯示示意圖 二點標定(斜率)狀態顯示示意圖
d) 然后按“確認”鍵完成標定!儀器存貯當前的標定結果,并顯示斜率和E0值,然后返回測量狀態。
e) 如果用戶使用的是其他標準緩沖溶液,則shou先需要按“定位△”或
~8~
“定位▽”鍵調節顯示值,使pH顯示為該溫度下標準溶液的pH值,然后按“確認”鍵,完成標定。
4.3.3 電極斜率的復位
由于某些原因,如意外斷電等原因導致當前的電極斜率不正確(開機時會顯示上次標定的電極斜率值),有兩種辦法可以幫助恢復。
一、按照前面的方法重新標定電極;
二、按住任意鍵并再次開機,或者在測量狀態下,按住“確認”鍵3秒以上,儀器顯示“SYS rSt”字樣表示系統復位(System reset),此時須放開“確認”鍵,稍等,儀器開始閃爍顯示,此時如果用戶按“確認”鍵,儀器將復位電極標定數據,并設為默認的4.00pH和9.18pH二點標定(斜率為100.0%,E0為0mV),然后回到測量狀態;按其他鍵可以放棄復位操作。
4.4 測量 pH值
經標定過的儀器,即可用來測量被測溶液,被測溶液與標定溶液溫度是否相同,所引起的測量步驟也有所不同。具體操作步驟如下:
( l ) 被測溶液與定位溶液溫度相同時,測量步聚如下:
a) 用蒸餾水清洗電極頭部,再用被測溶液清洗一次:
b) 把電極浸入被測溶液中,用玻璃棒攪拌溶,使溶液均勻,在顯示屏上讀出溶液的 pH值。
( 2 ) 被測溶液和定位溶液溫度不同時,測量步驟如下:
a) 用蒸餾水清洗電極頭部,再用被測溶液清洗一次;
b) 用溫度計測出被測溶液的溫度值;
c) 按“溫度”鍵,使儀器顯示為被測溶液溫度值,然后按“確認”鍵。
d) 把電極插入被測溶液內, 用玻璃棒攪拌溶液, 使溶液均勻后讀出該溶液的pH值。
4.5 測量電極電位(mV值)
(1) 把離子選擇電極(或金屬電極)和參比電極夾在電極架上;
(2) 用蒸餾水清洗電極頭部,再用被測溶液清洗一次;
(3) 把離子電極的插頭插入測量電極插座(6)處
(4) 把參比電極接入儀器后部的參比電極接口(7)處;
~9~
(5) 把兩種電極插在被測溶液內,將溶液攪拌均勻后,即可在顯示屏上讀出該離子選擇電極的電極電位(mV值),還可自動顯示±極性。
(6) 如果被測信號超出儀器的測量范圍,儀器將顯示“Err”字樣。
(7) 使用金屬電極測量電極電位時, 用帶夾子的Q9插頭,Q9插頭接入測量電極插座(6)處,夾子與金屬電極導線相接;或用電極轉換器,電極轉換器的一頭接測量電極插座(6) 處,金屬電極與轉換器接續器相連接。參比電極接入參比電極接口(7)處。
5 儀器維護
儀器的經常地正確使用與維護,可保證儀器正常、可靠地使用,特別是pH計這一 類的儀器,它必須具有很高的輸入阻抗,而使用環境需經常接觸化學藥品,所以更需合理維護。
(1) 儀器的輸入端(測量電極插座6)必須保持干燥清潔。儀器不用時,將Q9 短路插頭插入插座,防止灰塵及水汽浸入。
(2) 電極轉換器(選購件)專為配用其他電極時使用, 平時注意防潮防塵。
(3) 測量時,電極的引入導線應保持靜止,否則會引起測量不穩定。
(4) 儀器所使用的電源應有良好的接地。#p#分頁標題#e#
(5) 儀器采用了 MOS集成電路,因此在檢修時應保證電烙鐵有良好的接地。
(6) 用緩沖溶液標定儀器時,要保證緩沖溶液的可靠性,不能配錯緩沖溶液,
否則將導致測量結果產生誤差。
6 緩沖溶液的配制方法
(1) pH4.00溶液:用GR鄰苯二甲酸氫鉀10.12g,溶解于1000ml的高純去離子水中。
(2) pH6.86溶液:用GR磷酸二氫鉀3.387g、GR磷酸氫二鈉3.533g,溶解于1000mL的高純去離子水中。
(3) pH9.18溶液:用GR四硼酸鈉3.80g、溶解于1000mL的高純去離子水中。
~10~
注意:配制2、3溶液所用的水,應預先煮沸(15~30)min,除去溶解的二氧化碳。在冷卻過程中應避免與空氣接觸,以防止二氧化碳的污染。

7 電極使用、維護的注意事項
(1) 電極在測量前必須用已知 pH值的標準緩沖
溶液進行定位校準,其pH值愈接近被測pH值
愈好。
(2) 取下電極護套后,應避免電極的敏感玻璃泡與
硬物接觸,因為任何破損或擦毛都使電極失
效。
(3) 測量結束,及時將電極保護套套上,電極套內
應放少量外參比補充液,以保持電極球泡的濕
潤,切忌浸泡在蒸餾水中。
(4)

復合電極的外參比補充液為3mol/L氯化鉀
溶液,補充液可以從電極上端小孔加入,復
合電極不使用時,拉上橡皮套,防止補充液
干涸 。
(5) 電極的引出端必須保持清潔干燥,**防止

輸出兩端短路,否則將導致測量失準或失效。

(6) 電極應與輸入阻抗較高的pH計(≥10
12Ω)
配套,以使其保持良好的特性。
(7) 電極應避免長期浸在蒸餾水、蛋白質溶液和
酸性氟化物溶液中.
(8) 電極避免與有機硅油接觸。
(9) 電極經長期使用后,如發現斜率略有
降低,則可把電極下端浸泡在4%HF(氫氟酸)
中(3~5)s, 用蒸餾水洗凈、然后在0.1 mo l/L鹽酸溶液中浸泡,使之復新。
~11~
(10)被測溶液中如含有易污染敏感球泡或堵塞液接界的物質而使電極鈍化,會出現斜率降低,顯示讀數不準現象。如發生該現象,則應根據污染物質的性質,用適當溶液清洗,使電極復新。
注1:選用清洗劑時、不能用四氯化碳、三氯乙烯、四氫呋喃等能溶解聚碳
酸樹脂的清洗液,因為電極外殼是用聚碳酸樹脂制成的,其溶解后極易污染敏感玻璃球泡,從而使電極失效。也不能用復合電極去測上述溶液。
注2:pH復合電極的使用,**容易出現的問題是外參比電極的液接界處,液接界處的堵塞是產生誤差的主要原因。
注3:如果本說明書關于pH電極的使用說明與pH電極配套說明書上的表述有所不同,請以pH電極配套說明書為準。
8 污染物質和清洗劑參考表
污染物 清洗劑
無機金屬氧化物 低于 lmol/L 稀酸
有機油脂類物質 稀洗滌劑(弱堿性)#p#分頁標題#e#
樹脂高分子物質 酒精、丙酮、乙醚
蛋白質血球沉淀物 5%胃蛋白酶+0.1mol/L HCl溶液
顏料類物質 稀漂白液、過氧化氫
9 成套性
1. PHS—3C型pH計 l臺
2. E—201—C型塑殼可充式pH復合電極 1支
3. 附件一套,以隨機裝箱單為準
若用戶需測量氧化—還原電位(ORP)或測量相應的離子電極電位之場合,請用戶選購電極轉換器。
~12~
附錄1:緩沖溶液的pH值與溫度關系對照表
|
溫度℃ |
0.05mol/kg
鄰苯二鉀酸氫鉀 |
0.025mol/kg
混合物磷酸鹽 |
0.01mol/kg
四硼酸鈉 |
|
5 |
4.00 |
6.95 |
9.39 |
|
10 |
4.00 |
6.92 |
9.33 |
|
15 |
4.00 |
6.90 |
9.28 |
|
20 |
4.00 |
6.88 |
9.23 |
|
25 |
4.00 |
6.86 |
9.18 |
|
30 |
4.01 |
6.85 |
9.14 |
|
35 |
4.02 |
6.84 |
9.11 |
|
40 |
4.03 |
6.84 |
9.07 |
|
45 |
4.04 |
6.84 |
9.04 |
|
50 |
4.06 |
6.83 |
9.03 |
|
55 |
4.07 |
6.83 |
8.99 |
|
60 |
4.09 |
6.84 |
8.97 |
~13~
附錄2:儀器顯示信息對照表
|
顯示現象 |
原因 |
解決辦法 |
|
1、開機后儀器始終顯示“Err”字樣 |
儀器有自檢功能,當儀器檢測存貯芯片有問題時,將顯示此信息 |
關機,稍等,然后再試幾次。如果問題依然,請與我公司聯系。 |
|
2、儀器顯示mV區顯示“Err”字樣,但下面顯示溫度部分正常。 |
當輸入電位超出測量范圍時,儀器將顯示此信息 |
將隨機攜帶的短路插頭插入電極插口試試,如果問題依然,請與我公司聯系。 |
|
3、測量狀態下,按“pH/mV”鍵無法切換到pH測量狀態 |
當pH測量范圍超出+20.00pH時,儀器先顯示“Err”字樣,然后強制切換到mV測量狀態 |
1、 減小輸入信號。
2、 2、將隨機攜帶的短路插頭插入電極插口試試,如果問題依然,請與我公司聯系。 |
|
4、測量狀態下,按“確認”鍵3秒以上顯示“5Y5 r5t”字樣 |
標定數據復位功能。
表示“System reset?”,即提示用戶是否需要復位。 |
如果用戶需要復位,此時請按“確認”鍵,否則按其他鍵即退出。 |
|
5、按定位鍵、或者斜率鍵后,儀器閃爍顯示“5td YE5”字樣 |
此為正常現象。儀器為了防止用戶誤按鍵而設置的,表示“Standard yes?”,即提示用戶是否標定的意思。 |
如果用戶需要標定電極,此時請按“確認”鍵,否則按其他鍵即退出。 |
|
6、如果儀器不是在設置溫度、定位、設置斜率時顯示出“設定溫度”、“定位Set E0”、“斜率Slope”、“按△▽調節”等字樣,或者顯示的數字不全 |
儀器顯示有問題 |
請與我公司聯系。 |
#p#分頁標題#e#
~14~